一、概述:
1.1 LW9—72.5/T2500—31.5型高压六氟化硫断路器系户外三极交流50Hz高压电器设备,主要用于输变电线路的?;?,也可作联络断路器使用。断路器为三极组装在一个框架上,不能进行单极操作。
1.2 LW9—72.5/T2500—31.5型高压六氟化硫断路器符合GB1984《高压交流断路器》国家标准的要求,并满足IEC60056《高压交流断路器》国际电工委员会标准的要求。
二、使用环境条件:
2.1 环境温度 -30℃~+40℃(-45℃~+40℃条件下开断电流为25kA)
2.2 海拔高度不超过 1000m
2.3 自然风速不超过 35m/s
2.4 积冰厚度不超过 10mm
2.5 地震地面加速度不超过
a.水平加速度 0.4g
b.垂直加速度 0.2g
2.6 最大日温差 25℃
三、性能特点:
3.1断路器采用六氟化硫(SF6)气体作为灭弧介质,六氟化硫气体不但有良好的灭弧性能,而且电气绝缘性能非常好,气体在开断时被压气筒压缩后喷向电弧并将电弧熄灭,开断的简单原理如图1。该断路器具有结构简单、开断性能良好,并且操作平衡等许多优点。它还是一种理想的切合电容器组及电抗器组的开关。
3.2优越的开断性能 断路器能够顺利地开断各种异常短路,例如反相状态断路器两侧两极同时接地,近区故障以及包括断路器端部故障在内的其它故障等。
3.3 操作噪音小 由于断路器密封,与大气隔绝,所以操作时没有气体喷出的噪音。
3.4结构简单、尺寸紧凑 灭弧室采用单断口,没有其它阀系统,所以结构非常简单、尺寸紧凑。
3.5检修维护工作量小 由于结构简单,并且断路器的灭弧室触头在六氟化硫气体中开断时烧损量小,所以断路器的维护工作量小,检修周期比较长。
3.6安全可靠 纯净的六氟化硫气体是无毒不可燃的,而且因为灭弧室密封性好,所以断路器在使用上是安全可靠的。

四、技术参数:
序号
名 称
单 位
数 据
1
额定电压
kV
72.5
2
额定电流
A
2500
3
额定短路开断电流
kA
31.5
4
额定短路关合电流(峰值)
kA
80
5
额定短时耐受电流
kA
31.5
6
额定短路持续时间
s
4
7
额定峰值耐受电流(峰值)
kA
80
8
1min工频耐受电压(有效值)(断路器内充入20℃时,0.40MPaSF6气体
干试
断口间
kV
160+42
对 地
kV
160
湿试
断口间
kV
160+42
对 地
kV
160
雷电冲击耐受电压(峰值)1.2/50μs(断路器内充入20℃时,0.40MPaSF6气体)
断口间
kV
350+60
对 地
kV
350
9
零表压5min工频耐受电压(有效值)
kV
84
10
近区故障开断电流
kA
31.5×
11
额定失步开断电流
kA
31.5×25%
12
首开极系数
1.5
13
分闸时间
S
≤0.03
14
开断时间
S
≤0.06
15
合闸时间
S
≤0.15
序号
名 称
单 位
数 据
16
分——合时间
S
≥0.3
17
合——分时间
S
0.06
18
断路器每极断口数
个
1
19
断路器内六氟化硫气体(20℃时)
额定压力
MPa
0.50
报警压力
MPa
0.40
闭锁压力
MPa
0.40
含水量不大于
PPM( )
150
年漏气量不大于
1%
20
充入断路器内六氟化硫气体的重量
kg
3.5
21
断路器总重
kg
1000
22
机械寿命
次
3000
23
断路器接线端子静拉力
水平纵向允许负荷
N
750
水平横向允许负荷
N
500
垂直方向允许负荷
N
750
24
断路器断口及对地瓷套泄漏距离(断口/对地)
防污型(Ⅲ级)
mm
2090/1815
重污型(Ⅳ级)
mm
2585/2250
25
弹簧机构分/合闸线圈
电 阻 值
Ω
50
额定电压(DC)
V
110或220
额定电流(DC)
A
2.2
26
弹簧机构电动机
功 率
W
315
电 压(AC/DC)
V
220
27
加热器
功 率
W
100
电 压(AC)
V
220
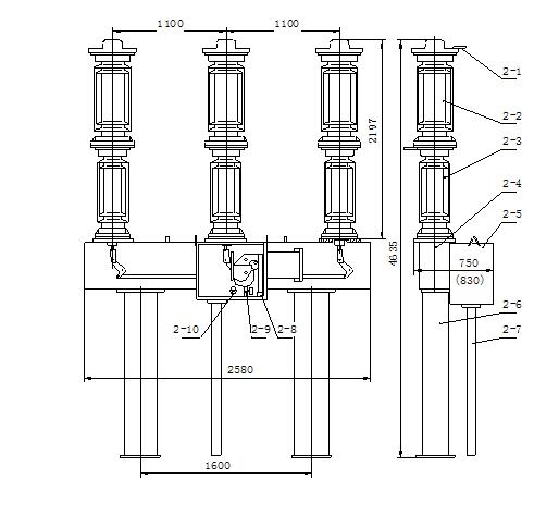
五、安装尺寸

推荐资讯 / Recommended News
- 2022-08-24 持久浅谈真空断路器的理伦
- 2022-08-24 持久浅淡真空断路器
- 2022-08-24 智能真空断路器的技术问题解答
- 2022-08-24 ZW32真空断路器核心作用
- 2022-08-24 真空断路器比较难处理的问题
- 2022-08-24 高压真空断路器的维护安装
- 2022-07-23 真空断路器寿命是哪些因素影响的
- 2022-07-23 真空断路器跳闸次数多有没有影响
- 2022-07-23 真空断路器试验过程中的事项
- 2022-07-23 真空断路器原则和功能的研究范围
乐清市持久电气有限公司
收藏本站
联系持久







