一、概述
JLS-35高压计量箱(组合互感器)主要由组合互感器和电度表箱两部分组成,组合互感器由两台单相电压互感器和两台电流互感器组成,电度表内配有有功和无功电度表各一台,可分别计量有功电能和无功电能。具有计量精度高,重量轻,安装方便,防窃电等优点。
二、使用环境条件
1、海拔高度不超过1000m;
2、环境温度:zui高+40℃;日平均不超过30℃;zui低-25℃;
3、系统接地方式:中性点非有效接地系统;
4、大气条件:大气中无严重污秽。
三、结构特征
1、本产品由组合互感器和仪表箱两个部分组成
2、组合互感器由两只单相电压互感器连体成为(PT)及两只电流互感器(CT)组成,PT、CT均为电磁式,两只PT绕组采用V/V联结成三相测量装置,两只CT的一次绕组分别与电网A、C相串连。箱体侧面焊有接地螺丝。
3、仪表箱与组合互感器的二次绕组出线相连接起来,仪表箱内装三相有功电度表和无功电度表各一块,从箱内观察可清楚地读抄数字。
四、产品验收
1、检查铭牌数据、合格证是否要求一致。
2、按产品装箱单检查产品的各部件、备件是否齐全;各个部件是否完好。
3、检查各部件紧固螺丝、一次导杆、二次接线柱、电表接线有无松动现象。
4、工频耐压试验:按照出厂试验值的80%进行验收。
5、电流互感器、电压互感器的误差检验。(国家标准)
6、检查u、n220v控制电源输出是否符合要求。
五、运输贮存与售后服务
1、本产品的运输,需在包装条件下进行。运输过程中不应受到剧烈振动和撞击,其运输安装贮存应符合JB/T15464——1995(仪器仪表安装通用技术条件)贮存地方应干燥通风,环境温度不超过-25~40℃,相对湿度不超过85%,空气中无腐蚀性气体和霉菌。
2、本产品如在保修期内出现问题,请用户不要自行打开箱体、表箱,要保持整体状态,否则我公司不予保修。
3、我公司生产的产品在运行中出现问题,我公司自接到通知起,本省两天内维修人员到达现场,外省根据路程远近适当延长。
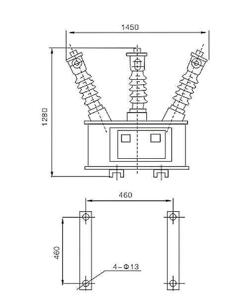
六、外形尺寸图
推荐资讯 / Recommended News
- 2022-08-24 持久浅谈真空断路器的理伦
- 2022-08-24 持久浅淡真空断路器
- 2022-08-24 智能真空断路器的技术问题解答
- 2022-08-24 ZW32真空断路器核心作用
- 2022-08-24 真空断路器比较难处理的问题
- 2022-08-24 高压真空断路器的维护安装
- 2022-07-23 真空断路器寿命是哪些因素影响的
- 2022-07-23 真空断路器跳闸次数多有没有影响
- 2022-07-23 真空断路器试验过程中的事项
- 2022-07-23 真空断路器原则和功能的研究范围
乐清市持久电气有限公司
收藏本站
联系持久







