一、结构简介
GW9- -10、12 (G)型户外单极隔离开关(以下简称开关)适用于10千伏高压输配电线路上,用以切断和闭合无负载有电压的单相或三相电路??毓┤嘞呗废低车ハ嗍褂?,其结构简单、经济,使用方便。
开关的额定电流有200、400、630、 800、1000安, 它们皆由底座、支柱绝缘子、导电部分和机构部分组成。采用闸刀式结构分合闸达到切断和闭合线路。每相闸刀由两片导电刀片组成,刀片两侧装有压缩弹簧,调节弹簧的高度可以得到开关闸刀所需要的接触压力。开关分合闸时用钩棒操作机构部分便可以进行合闸运动。闸刀有自锁装置??氐耐庑图妓尽?/span>
二、使用环境条件和主要技术参数
1、使用环境条件
(1)海拔高度不超过2000米;
(2)环境温度:最高不高于+40;最底不低于30C ;
(3)户外风速不超过35米/秒;
(4)地震强度不超过8级;
(5)安装场所应无严重影响开关绝缘和导电能力的气体、蒸汽、
化学性质沉淀、盐雾、灰尘污垢、及其他爆炸性、侵蚀性介质。
2、主要技术参数

三、安装、使用和调整
1.安装前的工作
(1)消除另件上的灰尘、污物,仔细擦除绝缘瓷瓶的表面;(2)在转动部位和接触处涂一层工业凡士林;
(3)检查接触面,调节压缩弹簧的宽度,使接触压力
符合下表:
(4)本开关只适用于吊装使用如图四所示,它-般与线路上的
变压器配合使用;
(5)本开关额定电流在200 - 400A一般只使用二个安装孔,
630- 1000A的使用三个安装孔;(6)安装方式和安装尺寸见图所示;
2.每年定期检查开关下列部位
(1)清除尘垢、特别是导电部分、接触面处和绝缘瓷瓶表面等;
(2)检查各另件部件有无损伤特别注意检查绝缘瓷瓶有无损失破裂现象;
(3)检查导电部分的接触面是否良好;
四、运输与保管
1、本开关经制造厂以单相型式装配、调整、试验合格后按- -定规格包装;
2、运输时不得倒置,不得受到强烈震动和碰撞。
3、开关运到目的地后,包装木箱应无松散、损坏现象方可拆箱;
4、拆箱后,检查产品及随附的产品合格证、安装使用说明书等是否齐全;
5、检查开关各另部件有无损伤和绝缘瓷瓶碎裂现象;
6、若开关不马上使用,应作定期检查,并在接触面处和转动部位涂- - 层工业凡士林;
五、外型结构与安装尺寸
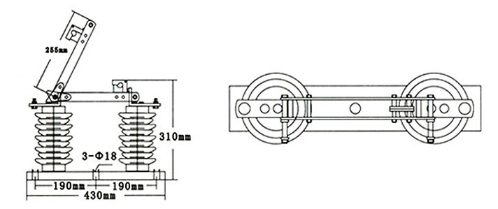
图一GW9-12型隔离开关单、双接线孔外型及安装尺寸
图二GW9-15型隔离开关的外型及安装尺寸
图三CW9-10G型隔离开关的外型、安装尺寸及接线图
图四隔离开关的安装方式
推荐资讯 / Recommended News
- 2022-08-24 持久浅谈真空断路器的理伦
- 2022-08-24 持久浅淡真空断路器
- 2022-08-24 智能真空断路器的技术问题解答
- 2022-08-24 ZW32真空断路器核心作用
- 2022-08-24 真空断路器比较难处理的问题
- 2022-08-24 高压真空断路器的维护安装
- 2022-07-23 真空断路器寿命是哪些因素影响的
- 2022-07-23 真空断路器跳闸次数多有没有影响
- 2022-07-23 真空断路器试验过程中的事项
- 2022-07-23 真空断路器原则和功能的研究范围
乐清市持久电气有限公司
收藏本站
联系持久







